Gitaren en Basgitaren
Guitar and Bass Effects
- Akoestisch
- Multi-effecten
- Bass Pedals
- Chorus/Flanger/Phaser Pedals
- Compressor Pedals
- Delay/Echo Pedals
- Distortion Pedals
- Miscellaneous Guitar Effects
- Equalizer Pedals
- Guitar/Bass Synthesizers
- Guitar Multi Effects
- Looper Pedals
- Pedalboards
- Reverb Pedals
- Stomp/Drum Boxes
- Switch Pedals
- Tuner Pedal
- Voedingen
- Volume-/expressie
- Wah
Omschrijving
CORDIAL CDX 5-2
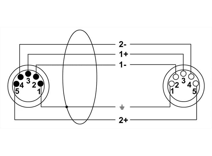
If lighting engineers and an event technicians are looking for a premium DMX cable with 5-pin plugs and 5-pin cable configuration, they will find the CDX-2 a solid and reliable tool.The interior design of our matching bulk cable CDMX-2 features a foil pair screen and a braid of tinned copper wires, effectively preventing interferences.
Our CDX-2 complies with EIA 485 standards and DMX 512 specification. While developing this cable, CORDIAL focused on a particularly high strain relief so that the CDMX-2 can endure physically highly demanding applications preventing unpleasant surprises as regards lighting control. On both cable ends you’ll find transparent shrink-on tubes to make individual labelling possible.
Please note that the technical DMX connection standard is reciprocal to standard XLR usage in the field of audio technology. Here the DMX transmitter features a female, the receiver a male connector.
Features:
- Bulk cable: CDMX 2
- Jacket: PVC
- cable assign: CDX2
- connector brand: NEUTRIK ®
- Plugs: 1x XLR-female 5-pole - 1x XLR-male 5-pole
Specificaties



